Официальное опубликование правовых актов
ОФИЦИАЛЬНОЕ ОПУБЛИКОВАНИЕ
Распоряжение Главы Республики Адыгея от 22.01.2024 № 4-рг
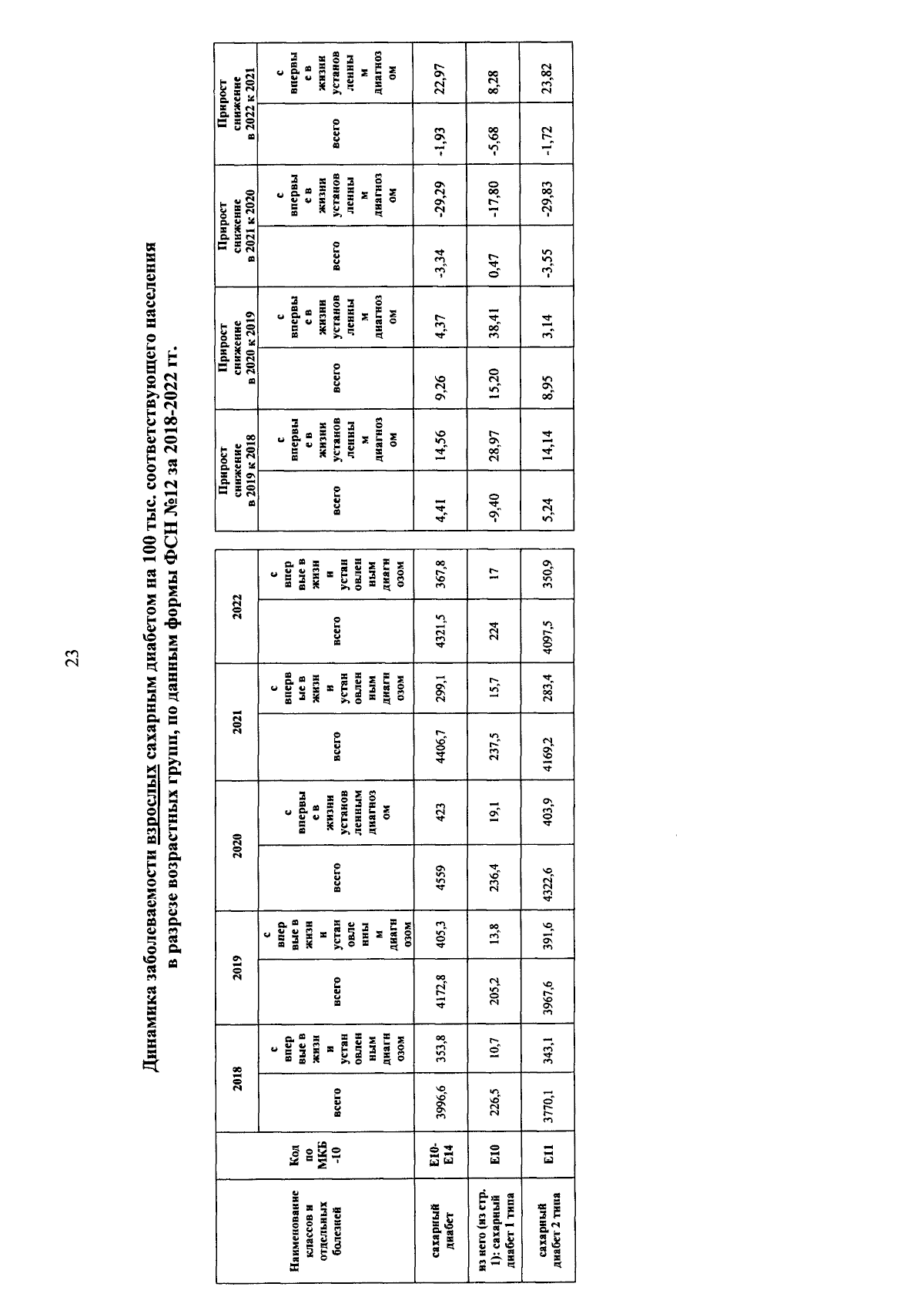
"О региональной программе "Борьба с сахарным диабетом в Республике Адыгея"
Номер опубликования: 0100202401230005
Дата опубликования: 23.01.2024
Страница №25 из 65:
Увеличить