Официальное опубликование правовых актов
ОФИЦИАЛЬНОЕ ОПУБЛИКОВАНИЕ
Закон Республики Адыгея от 05.03.2019 № 217
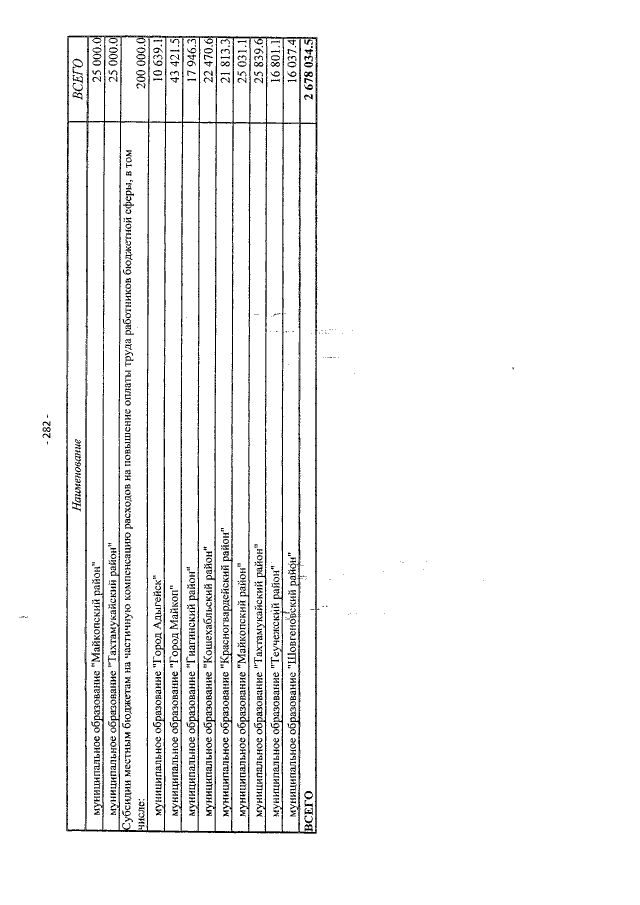
"О внесении изменений в Закон Республики Адыгея "О республиканском бюджете Республики Адыгея на 2019 год и на плановый период 2020 и 2021 годов"
Номер опубликования: 0100201903070007
Дата опубликования: 07.03.2019
Страница №282 из 284:
Увеличить