Официальное опубликование правовых актов
ОФИЦИАЛЬНОЕ ОПУБЛИКОВАНИЕ
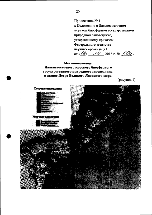
Приказ Федерального агентства научных организаций от 12.10.2016 № 50н
"Об утверждении Положения о Дальневосточном морском биосферном государственном природном заповеднике"
(Зарегистрирован 27.10.2016 № 44166)
Номер опубликования: 0001201610280027
Дата опубликования: 28.10.2016
Страница №21 из 29:
Увеличить